Главная страница > Каталог запчастей | Champion | запчасти Чемпион по России и СПБ > Каталог запчастей | Генератор | Электростанция Чемпион запчасти | Champion по России и СПБ Каталог запчастей | Генератор | Электростанция Чемпион запчасти | Champion по России и СПБ > GG2801 ГЕНЕРАТОР CHAMPION | Запчасти | ремонт | Каталог запчастей | Генератор | Электростанция Чемпион запчасти | Champion по России и СПБ
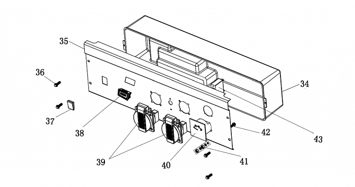
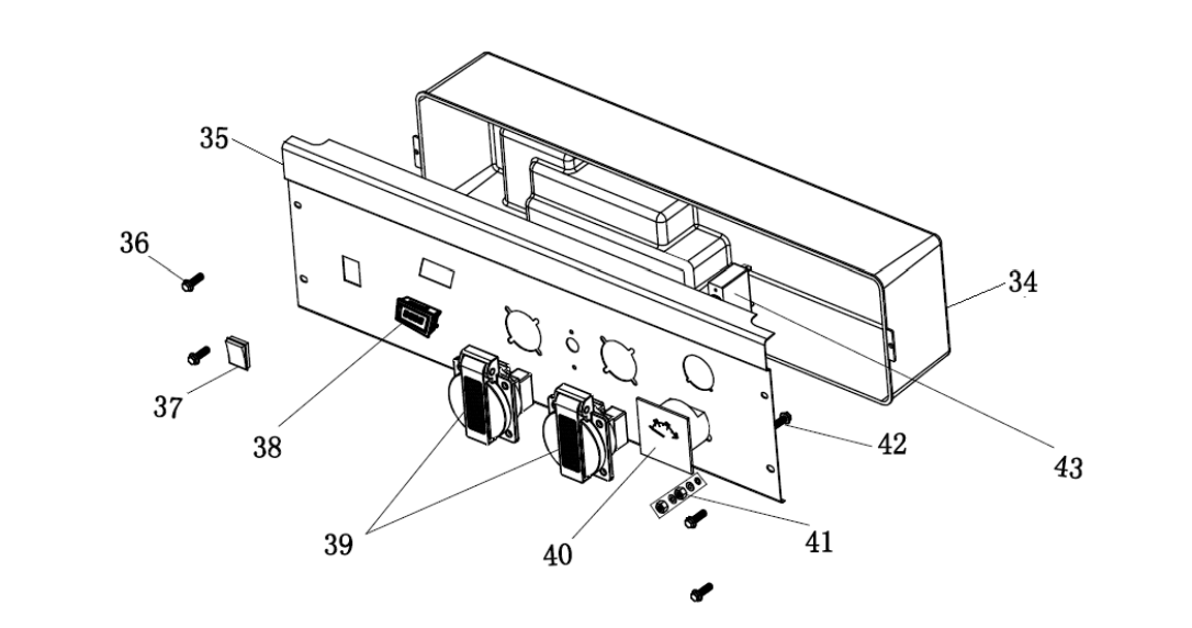
2 | Панель | Запчасти для генератора чемпион | GG2801| Сервис - Магазин |
1 | Статор - Ротор - Блок AVR | Запчасти для генератора чемпион | GG2801| Сервис - Магазин |
3 | Бак топливный | Запчасти для генератора чемпион | GG2801| Сервис - Магазин |
4 | Опора (виброизолятор) двигателя | Запчасти для генератора чемпион | GG2801| Сервис - Магазин |
5 | Цилиндр | Запчасти для генератора чемпион | GG2801| Сервис - Магазин |
6 | Поршень - Шатун - Коленвал - Распредвал | Запчасти для генератора чемпион | GG2801| Сервис - Магазин |
7 | Крышка картера | Запчасти для генератора чемпион | GG2801| Сервис - Магазин |
8 | Стартер - Магнето | Запчасти для генератора чемпион | GG2801| Сервис - Магазин |
9 | Головка цилиндра - Клапана | Запчасти для генератора чемпион | GG2801| Сервис - Магазин |
10 | Карбюратор | Запчасти для генератора чемпион | GG2801| Сервис - Магазин |
11 | Корпус воздушного фильтра | Запчасти для генератора чемпион | GG2801| Сервис - Магазин |
13 | Рычаг регулятора оборотов | Запчасти для генератора чемпион | GG2801| Сервис - Магазин |
12 | Глушитель | Запчасти для генератора чемпион | GG2801| Сервис - Магазин |
| Ссылка № | Артикул | Наименование | Цена | ||
|
34 | 4665270189686-0112 | Крышка панели задняя | ||
|
35 | 4665270189679-0113 | Панель | ||
|
36 | 4665270189686-0114 | Болт | ||
|
37 | 3012002000007 | Выключатель зажигания | 153 руб. | |
|
38 | 3047018000001 | Счетчик моточасов | 1 234 руб. | |
|
39 | 029029110160 | Розетка | 320 руб. | |
|
40 | 029029300100 | Вольтметр | 741 руб. | |
|
41 | 4665270189686-0119 | Гайка | ||
|
42 | 4665270189686-0120 | Болт | ||
|
43 | 029029231201 | Выключатель сети | 979 руб. |




