Главная страница > Каталог запчастей | Champion | запчасти Чемпион по России и СПБ > Каталог запчастей | Генератор | Электростанция Чемпион запчасти | Champion по России и СПБ Каталог запчастей | Генератор | Электростанция Чемпион запчасти | Champion по России и СПБ > GG3200EW ГЕНЕРАТОР CHAMPION | Запчасти | ремонт | Каталог запчастей | Генератор | Электростанция Чемпион запчасти | Champion по России и СПБ
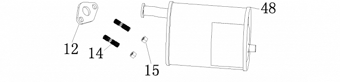
12 | Глушитель | Запчасти для генератора чемпион | GG3200EW | Сервис - Магазин |
1 | Статор - Ротор - Блок AVR | Запчасти для генератора чемпион | GG3200EW | Сервис - Магазин |
2 | Панель | Запчасти для генератора чемпион | GG3200EW | Сервис - Магазин |
3 | Бак топливный | Запчасти для генератора чемпион | GG3200EW | Сервис - Магазин |
4 | Опора (виброизолятор) двигателя | Запчасти для генератора чемпион | GG3200EW | Сервис - Магазин |
5 | Цилиндр | Запчасти для генератора чемпион | GG3200EW | Сервис - Магазин |
6 | Поршень - Шатун - Коленвал - Распредвал | Запчасти для генератора чемпион | GG3200EW | Сервис - Магазин |
7 | Крышка картера | Запчасти для генератора чемпион | GG3200EW | Сервис - Магазин |
8 | Стартер - Магнето | Запчасти для генератора чемпион | GG3200EW | Сервис - Магазин |
9 | Головка цилиндра - Клапана | Запчасти для генератора чемпион | GG3200EW | Сервис - Магазин |
10 | Карбюратор | Запчасти для генератора чемпион | GG3200EW | Сервис - Магазин |
11 | Корпус воздушного фильтра | Запчасти для генератора чемпион | GG3200EW | Сервис - Магазин |
13 | Рычаг регулятора оборотов | Запчасти для генератора чемпион | GG3200EW | Сервис - Магазин |
14 | Стартер с реле | Запчасти для генератора чемпион | GG3200EW | Сервис - Магазин |
| Ссылка № | Артикул | Наименование | Цена | ||
|
12 | DAB001 | Прокладка глушителя | 80 руб. | |
|
14 | 4665270189662-0014 | Шпилька | ||
|
15 | 4665270189662-0015 | Гайка | ||
|
48 | 4665270189662-0042 | Глушитель | 2 773 руб. |






