Пн-пт 10.00 - 19.00, сб 10.00 - 17.00
8(812) 989-06-96
       8(812) 987-80-20

Главная страница > Каталог запчастей > Каталог запчастей | Champion | запчасти Чемпион по России и СПБ > Каталог запчастей | Генератор | Электростанция Чемпион запчасти | Champion по России и СПБ Каталог запчастей | Генератор | Электростанция Чемпион запчасти | Champion по России и СПБ > GG3200 ГЕНЕРАТОР CHAMPION | Запчасти | ремонт | Каталог запчастей | Генератор | Электростанция Чемпион запчасти | Champion по России и СПБ
13 | Рычаг регулятора оборотов | Запчасти для генератора чемпион | GG3200 | Сервис - Магазин |
13 | Рычаг регулятора оборотов | Запчасти для генератора чемпион | GG3200  | Сервис - Магазин  |
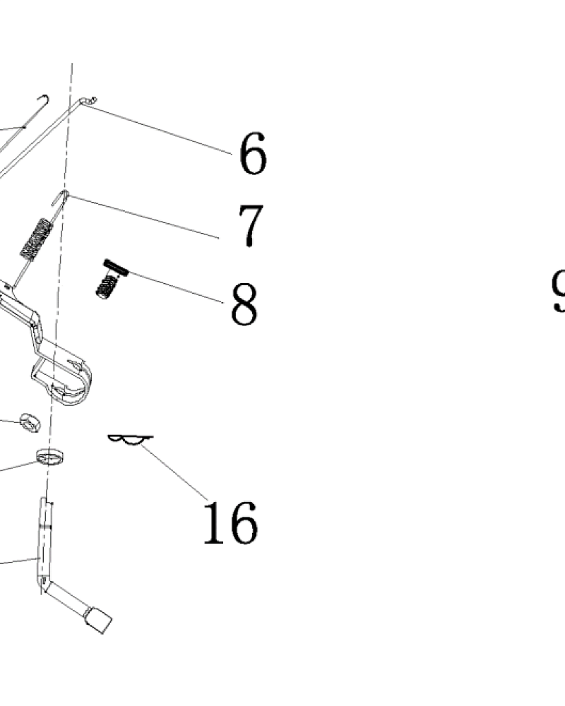
Ссылка № Артикул Кол-во Наименование Включая Цена
1 4665270189662-0001 Пружина тяги
2 4665270189662-0002 Рычаг
3 4665270189662-0003 Гайка
4 4665270189662-0004 Шайба
5 4665270189662-0009 Рычаг регулировки оборотов
6 4665270189662-0006 Тяга
7 4665270189662-0007 Пружина рычага
8 390006021BX Болт
9 4665270189662-0009 Рычаг регулировки оборотов
16 4665270189662-0016 Шплинт
Оставьте ваши данные и наш менеджер свяжется с вами