Пн-пт 10.00 - 19.00, сб 10.00 - 17.00
8(812) 989-06-96
       8(812) 987-80-20

Главная страница > Каталог запчастей > Каталог запчастей | Champion | запчасти Чемпион по России и СПБ > Каталог запчастей | Виброплита Чемпион запчасти | Трамбовка Champion по России и СПБ Каталог запчастей | Виброплита Чемпион запчасти | Трамбовка Champion по России и СПБ > PC1050FT ВИБРОПЛИТА БЕНЗИНОВАЯ CHAMPION | Запчасти | ремонт | Каталог запчастей | Виброплита Чемпион запчасти | Трамбовка Champion по России и СПБ
16 | БАК ДЛЯ ПОДАЧИ ВОДЫ | Запчасти для вибратора чемпион | PC1050FT | Поставка по России |
16 | БАК ДЛЯ ПОДАЧИ ВОДЫ | Запчасти для вибратора чемпион | PC1050FT  | Поставка по России |
Ссылка № Артикул Кол-во Наименование Включая Цена
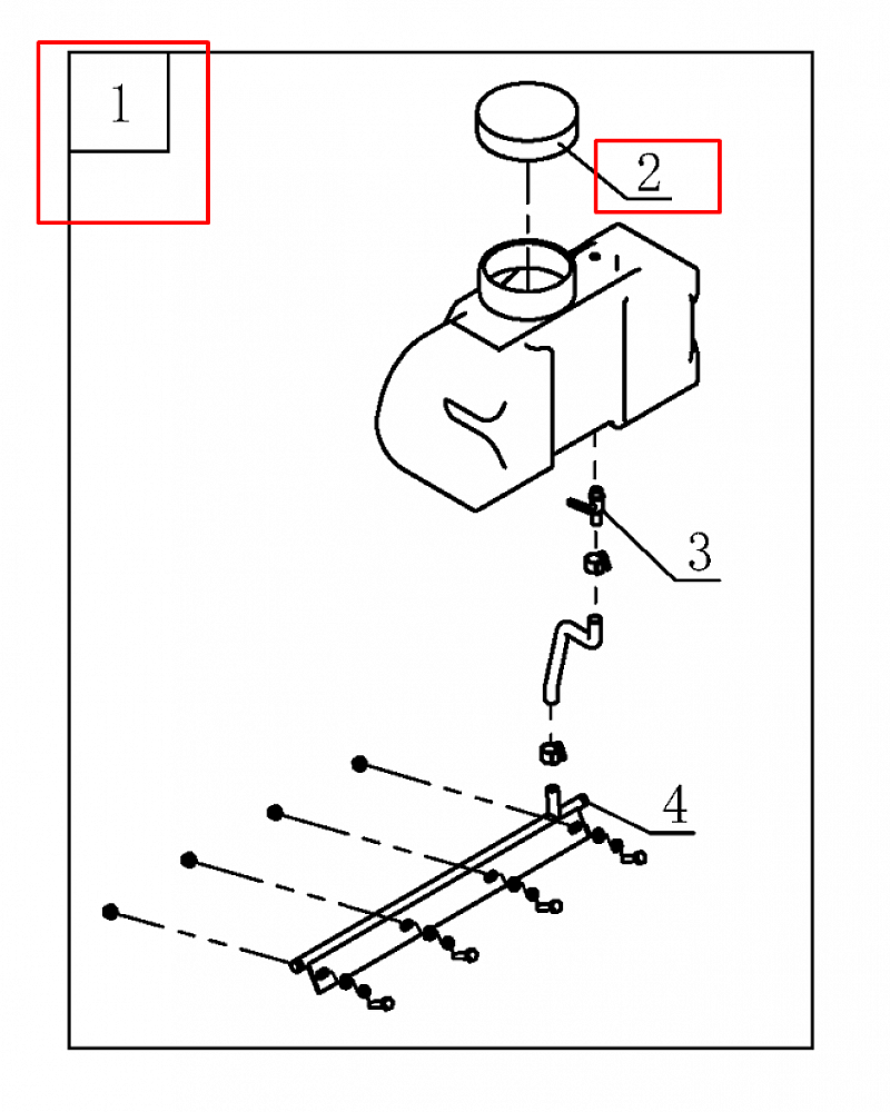
1 C1713 Комплект подачи воды для PC1050FT
2 CNP80DG048 Крышка бака
3 CNP80DG050 Кран подачи воды
4 CNP120DG007 Планка крепления коврика, трубка водяная PC1050FT
Оставьте ваши данные и наш менеджер свяжется с вами